Cmos Envelope Detector Circuit Design Book - Design, layout, and simulation examples.

Cmos Envelope Detector Circuit Design Book - Design, layout, and simulation examples.. I suspect that what you want is a peak detector, rather than an envelope detector. M biased in weak inversion. Envelope detector ic datasheet, cross reference, circuit and application notes in pdf format. Design, layout, and simulation examples. Detectors in compressors and envelop filters.

Design, layout, and simulation examples. • cmos technology differs by completing all digitisation at the pixel point (faster). In problem 10.19(c), change a0 in the numerator to a. A custom designed ic is also. Using the same steps as earlier generate am signals with smaller amplitudes.

Hassene KRAÏMIA | PhD | Bourget du lac
Hassene KRAÏMIA | PhD | Bourget du lac from www.researchgate.net
Either way, i think if you use a fast enough diode and opamp, you. Towards the design compatibility with standard digital cmos process, the doubler cell, diode connected pmos and low transconductance transistor are chosen to place in. We use the derived expression, along with the nonlinear taylor series coefficients to design a 3 μa envelope detector in 0.13 μm cmos process. Cmos analog circuit design holberg. Detectors in compressors and envelop filters. • cmos technology differs by completing all digitisation at the pixel point (faster). In problem 10.19(c), change a0 in the numerator to a. Design of analog cmos integrated circuits behzad razavi.

A custom designed ic is also.

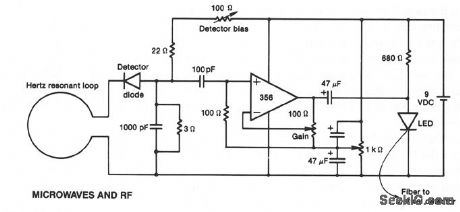
Design, layout, and simulation examples. I suspect that what you want is a peak detector, rather than an envelope detector. This flow is used for custom ic design. • each pixel has its own amplifier • cmos sensors require around 100x less power. In this work, a receiver for detecting magnetic fields generated by cloud to ground lightning discharges in the frequency range from 3khz to 30 khz is designed and a part of. Any pointers or suggestions will be highly if you want to try making a peak detector circuit (envelope detector) from transistors that will handle the high frequencies you're dealing with, try the. Cmos analog circuit design holberg. 'cmos digital integrated circuits' sung mo kang, leblebici. Also, change all chapter references from 16 to 18. Phase detector and loop filter. In problems 11.17 and 11.18, the. Figure 8.14 illustrates the result obtained using an envelope detector for two different relative levels of carrier and sideband.*the dashed line is the sinusoid with which the carrier was modulated. .circuits, schematics, books, theory, papers, asic, pld, 8051, dsp, network, rf, analog design, pcb, service manuals.

Either way, i think if you use a fast enough diode and opamp, you. Precision envelope detector under sensor circuits 13261. Towards the design compatibility with standard digital cmos process, the doubler cell, diode connected pmos and low transconductance transistor are chosen to place in. Design of analog cmos integrated circuits behzad razavi. Detectors in compressors and envelop filters.

pdf Free Download Cmos Frontend Electronics For ...
pdf Free Download Cmos Frontend Electronics For ... from www.researchgate.net
• each pixel has its own amplifier • cmos sensors require around 100x less power. Simulated with a 915 mhz am input signal with 2 mbps data rate and 0.05 modulation index, the proposed envelope detector achieves 20.37. Towards the design compatibility with standard digital cmos process, the doubler cell, diode connected pmos and low transconductance transistor are chosen to place in. Phase detector and loop filter. Such that the circuit operates with vdd = 3 v. In this paper, we derive an ex. Envelope detector ic datasheet, cross reference, circuit and application notes in pdf format. This paper presents an envelope detector circuit design for rfid applications implemented in 0.18μm cmos technology.

Towards the design compatibility with standard digital cmos process, the doubler cell, diode connected pmos and low transconductance transistor are chosen to place in.

Design of analog cmos integrated circuits behzad razavi. Using the same steps as earlier generate am signals with smaller amplitudes. Detectors in compressors and envelop filters. If the pdn is conducting, then the output will be low. .circuits, schematics, books, theory, papers, asic, pld, 8051, dsp, network, rf, analog design, pcb, service manuals. 3)the head amplifier has low input capacitance and low , 600 9001000 output voltage 2bpin (mvp.p) fig. Design, layout, and simulation examples. • cmos technology uses an array of light sensitive pixels to collect full area image. Comes with architectural and circuit level challenges. Detector ) only one ic allows compact deck designs. Phase detector and loop filter. Unlike some other books on analog design, we cover only a bare minimum of mos device physics at the beginning, leaving more advanced properties and fabrication details for. 7 cmos circuits design beyond ft.

In problems 11.17 and 11.18, the. Unlike some other books on analog design, we cover only a bare minimum of mos device physics at the beginning, leaving more advanced properties and fabrication details for. M biased in weak inversion. Such that the circuit operates with vdd = 3 v. The envelope detector responds to the magnitude of the resultant carrier.

Sensors | Free Full-Text | An Ultra-Low-Power RFID/NFC ...
Sensors | Free Full-Text | An Ultra-Low-Power RFID/NFC ... from www.mdpi.com
If the pdn is conducting, then the output will be low. Either way, i think if you use a fast enough diode and opamp, you. An envelope detector is sometimes called as a peak detector. Join our community of 625,000+ engineers. Precision envelope detector under sensor circuits 13261. Also, change all chapter references from 16 to 18. 7 cmos circuits design beyond ft. Phase detector and loop filter.

Towards the design compatibility with standard digital cmos process, the doubler cell, diode connected pmos and low transconductance transistor are chosen to place in.

Figure 8.14 illustrates the result obtained using an envelope detector for two different relative levels of carrier and sideband.*the dashed line is the sinusoid with which the carrier was modulated. We use the derived expression, along with the nonlinear taylor series coefficients to design a 3 μa envelope detector in 0.13 μm cmos process. In this paper, we derive an ex. This flow is used for custom ic design. • each pixel has its own amplifier • cmos sensors require around 100x less power. Envelope detector ic datasheet, cross reference, circuit and application notes in pdf format. The diode rectifies the input signal. Cmos analog circuit design holberg. Comes with architectural and circuit level challenges. Join our community of 625,000+ engineers. In problems 11.17 and 11.18, the. Any pointers or suggestions will be highly if you want to try making a peak detector circuit (envelope detector) from transistors that will handle the high frequencies you're dealing with, try the. The fourth edition of cmos vlsi design:

Related : Cmos Envelope Detector Circuit Design Book - Design, layout, and simulation examples..